А я говорю что зеркало прозрачное и датчики прямо встроенны в пиксели матрицы. Разъясните, пожалуйста, те кто в теме, как происходит на самом деле с точки зрения НАУКИ!


от:Хищный Хобот
Возник тут у нас с товарищем спор. Он говорит, что зеркало в пядваке двойное и оно переотражает свет вниз сначала, там типа датчики фокусировки.
А я говорю что зеркало прозрачное и датчики прямо встроенны в пиксели матрицы. Разъясните, пожалуйста, те кто в теме, как происходит на самом деле с точки зрения НАУКИ!
Подробнее
от: Иван Турухано
Друг прав.
от: foto-oper
Вы оба не шарите в фото. Датчики фокуса - в пентапризме! Свет отражается от них и идет в видоискатель, т.е. ты видишь картинку от датчиков отраженную. Учите матчасть. :)
от: Хищный Хобот
А почему у меня тогда на зеркале ясно видна прозрачная часть, как на моем рисунке? :?:
от: Хищный Хобот
Как датчики могут быть в пентапризме, если она монолитный кристалл? Если ее нарушить и встроить в структуру датчики , то сразу весь свет не туда пойдет...
от: foto-oper
Это следы клея, вам брак подсунули. Зеркало отвалилось и его небрежно приклеили обратно. Менять надо. :)

от: foto-oper
Она не монолитный! Она ПЕНТАпризма, из пентаклей, вот между пентаклями там датчики. Читайте литературу! :)
от: Хищный Хобот
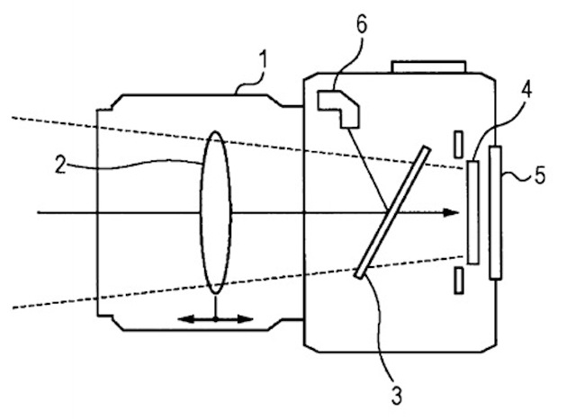
А вот мне кажется, что я прав. Нашел, картинку, которая подтверждает мою теорию...

от: foto-oper
Полно народу с зеркалами приклеенными, не жалуются... :)
от: PropeLLeR
естественно не только никон....
от: Хищный Хобот
Дайте пруфлинк, пожалуйста!

от: foto-oper
А что это такое?